You are currently viewing Apple sued for speaker design

Apple sued for speaker design

  • Post author:
  • Post category:Technology
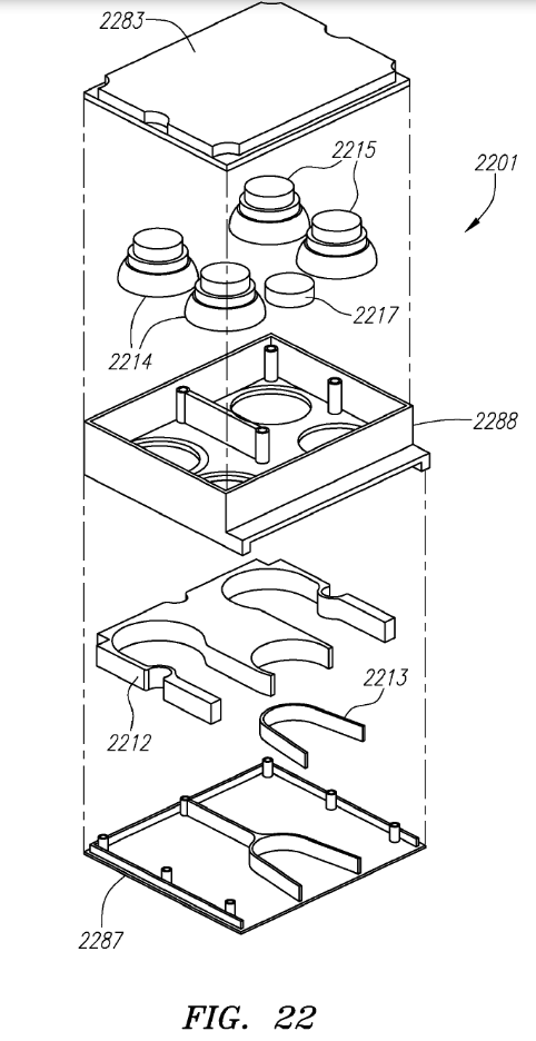
black-iphone-musicAudio technology company THX, founded by Star Wars maker George Lucas, has sued Apple for infringing on their patented technology. The lawsuit, filed in federal court in San Jose on Thursday, alleges that THX infringed on Apple’s 2007 rights to make speakers for Apple’s iMac, iPad and iPhone devices.

The company further alleges that Apple’s violation caused irreparable damage in other areas, including their financial losses. THX has demanded fines or royalties from the US computing giant based on the allegations.

The technology registered under the patent in question is mainly used in narrow speaker configurations and systems. It helps in improving the quality of sound in various consumer products such as flat TVs, mobiles etc.

THX says Apple is illegally using the technology mentioned in the iPhone (4, 4S and 5 models), iMac and iPad.

Apple has already registered a number of related technology patents to enrich its audio patent portfolio. Their last patent was granted in February 2013.

THX was established in 1983 as a division of Lucas Films. It started operating as an independent organization in 2001. The company primarily provides sound standards and certification services for movie, home entertainment and theater systems.

The two companies are likely to come to an agreement on the recent case.

[★★] Want to write about technology? Now one Technician Open an account and post about science and technology! fulcrumy.com Create a new account by visiting. Become a great technician!